Blog

The Future of DIY Robot Mowers: AI, Patents, and Open-Source Innovation

After years of managing a team of engineers building a robot lawn mower, I began to wonder: could Artificial Intelligence significantly accelerate the design process and lead to easily buildable, robust plans for a new generation of robot mowers?

Drawing Inspiration from the DIY Community

My journey was inspired by the incredible advances seen at one of my favorite D.I.Y. robot mower sites, the Ardumow designs.

To test the AI’s potential, I asked Google Gemini to design a chassis and generate design prints. The initial results from a simple prompt were remarkably promising for a first pass. I then requested an engineering drawing with dimensions based on a 10-inch cutting disk, similar to the proven swing-blade designs found on Husqvarna Automower products. These swing blade systems have been used for years to reduce the chance of injury to people and animals.

So I ask google Gemini to design a chassis and design prints for such a mower and got pretty great results for a first pass with a simple prompt

Next, I asked Gemini to give me an engineering drawing showing dimensions based upon a 10 inch cutting disk, similar to the cutting disks found on Husqvarna Automower products.

These swing blade designs have been around for many years and allowed a reduced chance of injury to people and animals.

 

The Untapped Resource: The Worldwide Patent System

However, there’s a critical resource that robot mower engineers, hobbyists, and D.I.Y. builders often overlook: the worldwide patent system.

The history of robot mowers is extensive, dating back to the late 1950s and early 1960s with several gas-powered mechanical patents on file. To create truly “best-in-class” D.I.Y. robot mowers, every enthusiast and current engineer should study the foundational patents from companies like Bell Robotics, Husqvarna, John Deere, iRobot, and M.T.D Products Inc., among others.

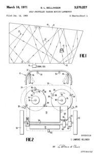
For example, this 1969 patent (US3570227A) from S Lawrence Bellinger (Mowbot, In.c) is one of the great early examples of the dawn of robot lawnmowers.

To make best in class D.I.Y. robot mowers, I recommend that every robot mower enthusiast and current robot mower engineers study the patents from Bell Robotics, Husqvarna, John Deere, iRobot, M.T.D Products Inc. and others.

Don’t Re-Invent the Wheel

With many established designs already in the public domain, and with the rapid prototyping tools available today, there has never been an easier time to develop new designs to share with the D.I.Y. robot mower community.

Most of the innovative ideas you have are already documented in patent literature, and many key elements of robust robot mower design are already public domain. Why re-invent the wheel? Instead, we should leverage the great, proven solutions from these patents, re-create them, and provide open-source plans to everyone.

My ultimate goal is to help elevate the designs and knowledge base of open-source robotic mower plans, making them more robust, safer, and easily manufacturable with modern D.I.Y. tools.

The next step for me is to build a custom Google Notebook LM solution for managing and using the overwhelming number of robot patents.